首页
村支两委
村务公开
基层治理
首页
村支两委
村务公开
基层治理
归档时间:
已归档
当前位置:
首页
>
田江街道_苗儿村
>
村务公开
>
财务公开
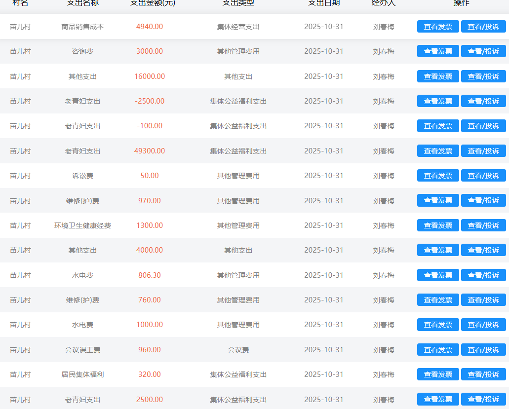
2025年10月苗儿村村级财务支出明细
发布时间:
2026-01-05
信息来源:北塔区
关闭
国家部委网站
省市政府网站
省直单位网站
各县市区网站
网站地图
主办单位:中共北塔区委、北塔区人民政府 承办单位:北塔区政府办(区数据局)
区政府办电话:0739-5081798 邮箱:btqxzspj@189.cn
湘公网安备 43051102000006号
备案号:
湘ICP备20010157号-1
网站标识码:4305110001 地址:邵阳市北塔区人民政府
主办单位:中共北塔区委、北塔区人民政府
承办单位:北塔区政府办(区数据局)
区政府办电话:0739-5081798 邮箱:btqxzspj@189.cn
湘公网安备 43051102000006号
备案号:
湘ICP备20010157号-1
网站标识码:4305110001
地址:邵阳市北塔区人民政府